靜電粉末高壓模塊
添加時間:2019-06-25 16:26:00
來源:
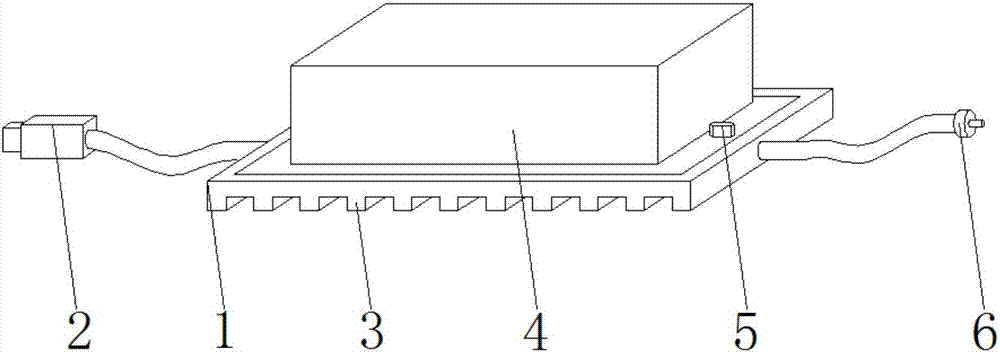
靜電粉末涂裝是近年來涂裝工藝的重大改革之一,以無污染、省資源和有效率的特點得到了快速發展,成為取代溶劑涂裝的主要途徑,應用領域也由防腐擴展到裝飾領域。靜電粉末涂裝是利用粉末涂料在高壓靜電作用下感應帶電,在電場力的作用下使粉末涂料均勻地吸附在被涂工件的表面,再經過熔融流平及留化成膜達到涂裝目的的一種方法。為了適應市場需求,國內許多廠商都推出了適合于手工操作的單機型靜電粉末噴涂設備。這類單機型設備一般由靜電粉末噴槍、粉泵泵體、高壓靜電發生電路和粉末供應系統組成。其中高壓靜電發生電路是將市電調制整流倍壓后產生30-90KV連續可調的靜電電壓。現有的靜電粉末噴涂用噴槍高壓模塊使用安全性不好,同時現有的靜電粉末噴涂用噴槍高壓模塊散熱性不好。
技術實現思路
本技術的目的在于提供一種用于靜電粉末噴涂用噴槍高壓模塊,以解決上述
技術介紹
中提出的問題。為實現上述目的,本技術提供如下技術方案:一種用于靜電粉末噴涂用噴槍高壓模塊,包括底座,所述底座的一端通過連接線與電源接口連接,所述底座的另一端通過所述連接線與極針連接,所述底座的底部中心處安裝有散熱孔,所述底座的底部安裝有若干個散熱條,所述底座的頂部安裝有隔離套,所述隔離套的對應兩側均安裝有緊固螺絲,所述隔離套的內部安裝有高壓模塊盒,所述隔離套與所述高壓模塊盒之間填充有填充層,所述高壓模塊盒的底部內壁對應安裝有支撐塊,所述支撐塊的頂部安裝有電路板,所述電路板的中心處設置有通風孔,所述通風孔的一側安裝有溫度傳感器,...
/ CONTACT US
地 址:安徽省天長市廣陵街道工業園區
郵政編碼:239300
電 話:0550-7022291
傳 真:0550-7025687
手機:茆經理:15309601888
郵 箱:2514336852@qq.com
投訴郵 箱:2514336852@qq.com